In the field of human performance—whether in sport, tactical operations, or combat shooting—there is a persistent illusion that improvement is primarily a function of repetition. Train more, shoot more, move more, and performance will inevitably rise. However, decades of research in motor learning and performance science challenge this simplistic view. Among the most influential contributors to this paradigm shift is Richard A. Schmidt, whose work fundamentally redefined how we understand skill acquisition, variability, and transfer of training.
At its core, Schmidt’s contribution dismantles the notion that practice equals performance. Instead, he demonstrates that performance emerges from structured interaction between practice conditions, feedback systems, and cognitive processing—a concept that aligns directly with modern evidence-based training systems.
The Illusion of Performance vs. the Reality of Learning
One of the central ideas derived from Schmidt’s research is the distinction between performance during training and actual learning. High performance in a controlled environment—such as a static shooting range—does not necessarily translate into improved capability under stress or in real-world scenarios.
This aligns with broader principles in performance evaluation literature, which emphasize that reliable and valid measurement is essential for meaningful decision-making
. Without proper metrics, what appears to be improvement may simply be context-specific adaptation, not true skill acquisition.
In practical terms:
A shooter who consistently performs well in a predictable, low-variability environment may fail when exposed to movement, time pressure, or cognitive load. The system was trained—but not the individual.
Schema Theory and the Role of Variability
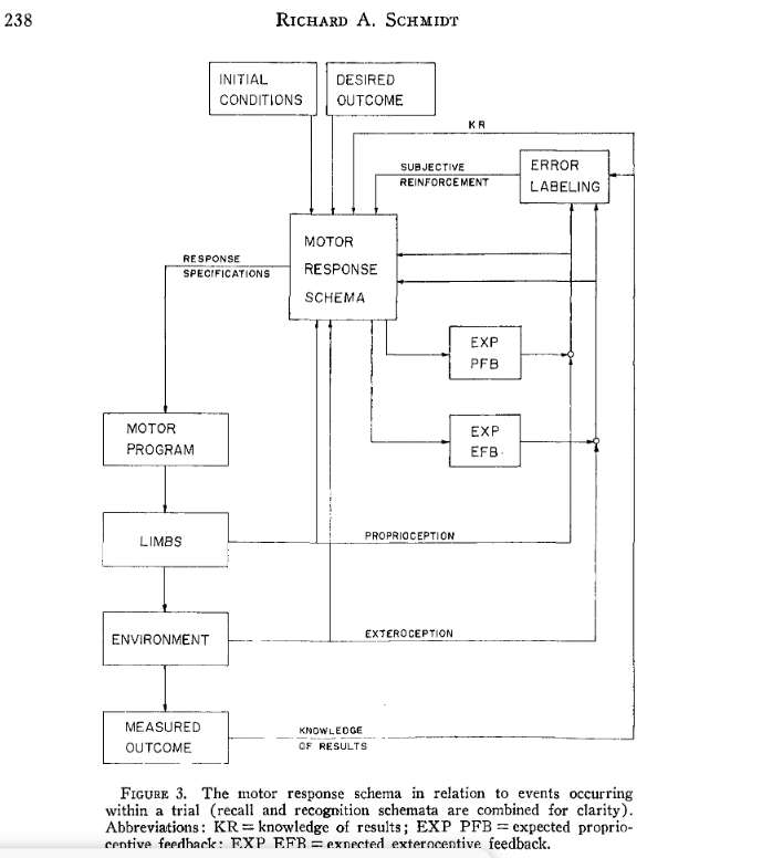
Schmidt’s Schema Theory introduces a critical concept: motor programs are not rigid scripts but adaptable frameworks. These frameworks are refined through exposure to variable conditions, allowing the brain to build generalized rules for action.
In combat shooting, this has direct implications:
- Repeating the same drill under identical conditions produces specific adaptation, not adaptive capability
- Introducing variability—distance, movement, lighting, stress—forces the nervous system to solve problems, not just execute patterns
- True skill emerges from error-driven learning, not perfection
This reinforces a key operational truth:
The battlefield is variable. Training must be as well.


Feedback, Error, and the Construction of Expertise

Another pillar of Schmidt’s work is the role of augmented feedback—information provided externally (e.g., instructor input, shot timers, target analysis).
However, not all feedback is beneficial. Excessive or poorly timed feedback can create dependency, reducing the athlete’s ability to self-correct.
From a scientific standpoint, effective training requires:
- Delayed feedback to promote internal processing
- Quantitative metrics to track performance objectively
- Error tolerance, allowing the system to adapt
This directly connects to the necessity of objective measurement systems in human performance, where reproducibility and validity determine whether data can be trusted.
In applied tactical training, this translates into a simple principle:
If you cannot measure it, you cannot improve it. If you measure it poorly, you will improve the wrong thing.
From Theory to Application: Combat Shooting as a Case Study
When Schmidt’s principles are applied to combat shooting, the implications are immediate and operational:
1. Static training is insufficient
Real-world engagement involves movement, uncertainty, and time constraints. Static repetition builds familiarity, not adaptability.
2. Variability must be engineered
Training design must deliberately introduce controlled chaos:
- Movement patterns
- Target unpredictability
- Environmental constraints
3. Metrics define reality
Split times, draw speed, hit probability, and decision latency are not just numbers—they are performance indicators that reveal whether training is effective.
4. Technique alone is not enough
Technique is only one component. Without method (structure) and metric (measurement), technique becomes aesthetic, not functional.
The Convergence with Modern Tactical Doctrine
What makes Schmidt’s work particularly relevant today is how seamlessly it integrates with modern high-performance training systems.
In environments where failure has consequences—military, law enforcement, private security—the goal is not to perform well in training, but to perform reliably under uncertainty.
This requires:
- Scientific structuring of training (Method)
- Precise execution (Technique)
- Continuous measurement and validation (Metric)
These three elements form a closed-loop system, where performance is constantly evaluated and refined.
Conclusion: Training Is Not Repetition—It Is Calibration
Schmidt’s legacy is not just theoretical—it is operational. His work forces a shift from volume-based training to intelligence-based training, where every repetition has a purpose, every variable has a role, and every outcome is measured.
In high-stakes environments, this distinction is critical.
Because in the end, the question is not:
“How much did you train?”
But rather:
“Did your training prepare you for reality?”
